중소기업기술마켓, CM송으로 만나보세요♬

인증기술(제품)

54(5/9페이지)

  • 기능성 필터를 갖는 엘이디 색상 수온표시 샤워기

    2024-12-000194

    기능성 필터를 갖는 엘이디 색상 수온표시 샤워기

    이온폴리스

    특허

  • 수밀성이 향상된 PE피복 내부평활 파형강관

    2024-12-000195

    수밀성이 향상된 PE피복 내부평활 파형강관

    신한스틸파이프(주)

    정부인증 특허

  • UV-C LED 공기 살균 시스템

    2024-09-000070

    UV-C LED 공기 살균 시스템

    에어컨포유

    특허

  • 안전사고 방지를 위한 맨홀용 안전커버

    2024-07-000083

    안전사고 방지를 위한 맨홀용 안전커버

    에이치엔스마트코리아

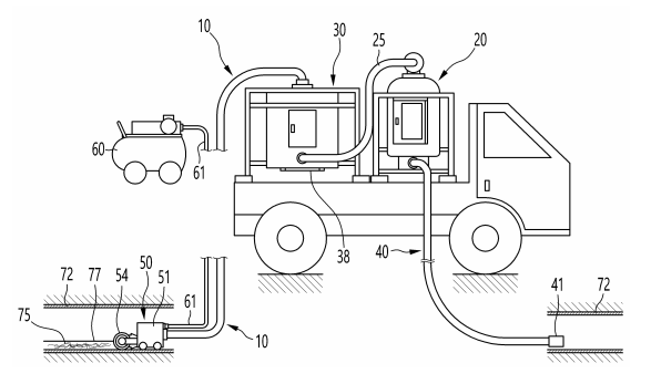
  • 만관 상태의 간선관로에 물돌리기 없이 공기압으로 오수와 준설토를 동시 흡입하여 분리·배출하는 건식 준설 공법

    2024-09-000071

    만관 상태의 간선관로에 물돌리기 없이 공기압으로 오수와 준설토를 동시 흡입하여 분리·배출하는 건식 준설 공법

    ㈜이왕코리아

    특허

  • 유리 섬유로 보강한 함침튜브와 광경화 방식을 적용한 하수도 관로 비굴착 보수·보강 공법(HI-PER TUBE System)

    2024-08-000025

    유리 섬유로 보강한 함침튜브와 광경화 방식을 적용한 하수도 관로 비굴착 보수·보강 공법(HI-PER TUBE System)

    이왕코리아

    정부인증

[인증]

공동심의를 거쳐 기술마켓에 등록된 제품

[닫기]

[혁신인증]

기술마켓 등록 제품 중 정부로부터 인증제품으로 지정 받은 제품

[닫기]
처리중입니다.